中文版
Tel : 0086-577-63775980 0577-63775986
E-mail : sales@globalfeipeng.com
GBFJK12 Imitation imported double round tube inverted left wiper arm (23 degrees, small hole)
GBSX02 Shaoxing GJ650mm Double round tube right wiper arm(19 degree)
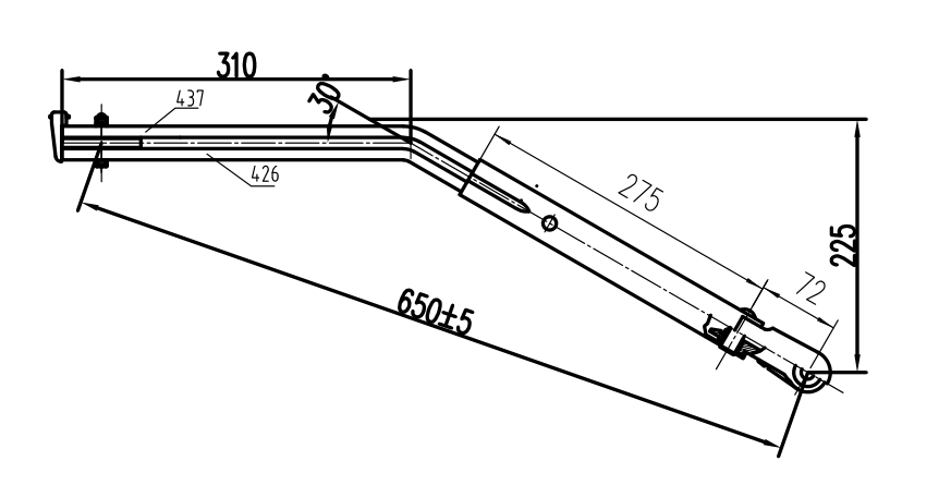
Subject : GBSX01 Shaoxing GJ650mm Double round tube left wiper arm(30 degrees)
Learn more about our information products
Add : Sunlou Ind Zone,Wanquan Town,Pingyang County,Wenzhou City,Zhejiang Province,China
Domestic Trade : 0086-577-63775980
Foreign Trade : 0086-577-63775986
Online Message
Scan to wechat :
Home
products
Skype
WhatsApp